AR10 是一款輕巧的高效能, 支援 USB 連線的 UHF RFID 讀取器。 具備2埠外接 RFID 天線能力, 極適合佈署於各式 IoT 以及整合控制硬體設備的 RFID 追蹤管控應用。
AR10 UHF RFID Reader 的運作需要藉助一台外接的電腦控制 RFID Tag 的讀取。支援以下程式語言軟體開發工具(SDK), 提供客製設計專屬軟體, 控制AR10 UHF RFID Reader, 讀取 RFID Tag 資料 或 寫資料到 RFID Tag。
- Java
- C#
- C/C++
AR10 特色
- 小巧外型, 易於佈署各式 IoT 應用, 例如: 機台 RFID 追蹤控制
- 2 個天線外接埠, 彈性搭配高低功率 RFID 天線
- 高效能, 高 C/P 值
- SDK軟體開發工具, 輕鬆客製設計專屬 RFID 控制軟體
- 體積小, 固定鎖孔, 輕鬆佈署
- USB供電, 支援 USB RS232 通訊介面
AR10 合適 RFID 應用
- RFID 讀取控制
- Windows/Linux/Android系統 RFID 追蹤管控整合
- IoT 物聯網整合應用
- 嵌入式整合應用
AR10 應用範例程式
- RFID標籤 EPC 錄碼應用
- 整合 Eclipse Paho Library 將所有感應到的 RFID 標籤資料傳送到 MQTT server
- 整合 RabbitMQ Library 將所有感應到的 RFID 標籤資料傳送到 MQTT server
AR10 產品規格
| 型號 | AR10-m2-e |
|---|---|
| RFID協定支援 | EPCglobal UHF Class 1 Gen 2 / ISO 18000-6C |
| 頻段支援 |
|
| RF 天線連接埠數 | 2埠 50Ω SMA 母頭 |
| RF 輸出功率 | 2埠 - 0 ~ 30 dBm 可調整, 最小調整間距 0.5 dBm |
| 讀距效能 | 最遠可達 6.5m 讀距(搭配 6dBiL 以上 RFID 天線) |
| 最大Tag讀速 | 最大讀速可達 50個/秒 |
| 資料傳輸介面 | USB 連接 (micro-B) |
| 電源供應 |
|
| 作業溫度 | -20°C ~ +50°C |
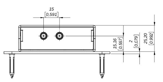
| 尺寸 | 95 x 83 x 26 mm |
| 重量 | 100g |
| SDK 開發工具程式語支援 |
|
AR10 外型尺寸



